Chalk Line Drawing

Are you looking for the best images of Chalk Line Drawing? Here you are! We collected 39+ Chalk Line Drawing paintings in our online museum of paintings - PaintingValley.com.

ADVERTISEMENT

Most Downloads Size Popular

Views: 2085 Images: 39 Downloads: 5 Likes: 0

Like JPG
600x400 What Chalk Lines Sizes Are Available - Chalk Line Drawing

What Chalk Lines Siz...

600x400 2 0

Like PNG
350x284 Chalk Line Article About Chalk Line - Chalk Line Drawing

Chalk Line Article A...

350x284 1 0

Like JPG
480x480 Chalk Line - Chalk Line Drawing

Chalk Line - Chalk L...

480x480 1 0

Like PNG
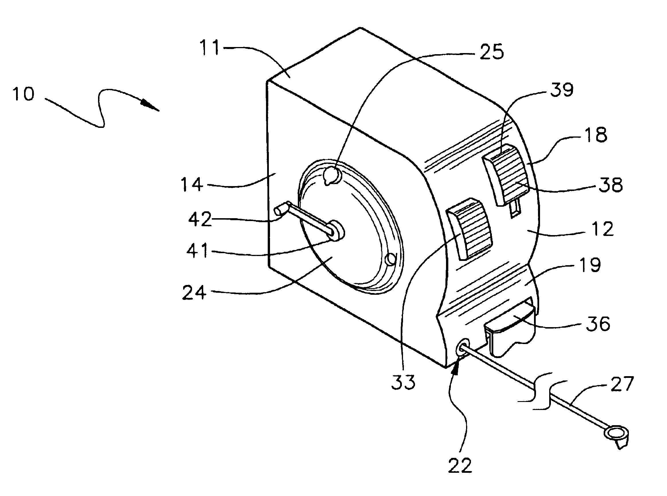
750x450 Quick Release Knot Pro Remodeler - Chalk Line Drawing

Quick Release Knot P...

750x450 1 0

Like JPG
1066x800  - Chalk Line Drawing

- Chalk Line Drawin...

1066x800 0 0

Like JPG
1500x1251 Drawing Chalk Dolphin For Free Download - Chalk Line Drawing

Drawing Chalk Dolphi...

1500x1251 0 0

Like PNG
785x702 Cliparts For Free Download Lines Clipart Chalk And Use - Chalk Line Drawing

Cliparts For Free Do...

785x702 0 0

Like PNG
252x300 Free Chalk Drawing Vector - Chalk Line Drawing

Free Chalk Drawing V...

252x300 0 0

Like JPG
570x456 Abstract Pencil Drawing Chalk Pastel Sketch Line Drawing - Chalk Line Drawing

Abstract Pencil Draw...

570x456 0 0

Like JPG
773x1000 Combined Chalk Line Box And Plumb Bob Patent Print - Chalk Line Drawing

Combined Chalk Line ...

773x1000 0 0

Like JPG
2048x1536 Antique Parallel Linerchalkboard Staff Linerchalk Line Drawing - Chalk Line Drawing

Antique Parallel Lin...

2048x1536 0 0

Like JPG
626x469 Chalk Drawing Vectors, Photos And Free Download - Chalk Line Drawing

Chalk Drawing Vector...

626x469 0 0

Like JPG
800x600 Chalk Line The New Journal - Chalk Line Drawing

Chalk Line The New J...

800x600 0 0

Like JPG
795x800 Chalk Line Drawing Series - Chalk Line Drawing

Chalk Line Drawing S...

795x800 0 0

Like JPG
650x551 Chalk Line Material, Chalk, Hand, Cartoon Png And Vector For Free - Chalk Line Drawing

Chalk Line Material,...

650x551 0 0

Like PNG
1024x1320 Chalk Line Png Images In Collection - Chalk Line Drawing

Chalk Line Png Image...

1024x1320 0 0

Like PNG
820x452 Chalk Line Png - Chalk Line Drawing

Chalk Line Png - Cha...

820x452 0 0

Like JPG
1000x750 Chalk Line Studio Rogier Arents - Chalk Line Drawing

Chalk Line Studio Ro...

1000x750 0 0

Like JPG
3750x2890 Chalk Box Angled Lines - Chalk Line Drawing

Chalk Box Angled Lin...

3750x2890 0 0

Like JPG
500x375 Chalk Graphic Stripe Line Drawing Coffee Mixed - Chalk Line Drawing

Chalk Graphic Stripe...

500x375 0 0

Like PNG
1024x1320 Chalk Line Apparatus With Strategically Located Chalk Fill Opening - Chalk Line Drawing

Chalk Line Apparatus...

1024x1320 0 0

Like PNG
350x577 Chalk Related Patent Applications - Chalk Line Drawing

Chalk Related Patent...

350x577 0 0

Like JPG
1280x720 How To Use A Chalk Line Diy - Chalk Line Drawing

How To Use A Chalk L...

1280x720 0 0

Like JPG
600x400 How To Prepare A Chalk Line - Chalk Line Drawing

How To Prepare A Cha...

600x400 0 0

Like PNG
3840x2160 Human Chalk Line Drawn - Chalk Line Drawing

Human Chalk Line Dra...

3840x2160 0 0

Like JPG
1200x630 Limited Edition Exclusive Snapping A Chalk Line - Chalk Line Drawing

Limited Edition Excl...

1200x630 0 0

Like JPG
304x171 Let's Draw A Line Under It - Chalk Line Drawing

Let's Draw A Line Un...

304x171 0 0

Like PNG
2298x1890 Patent - Chalk Line Drawing

Patent - Chalk Line ...

2298x1890 0 0

Like PNG
2327x1730 Patente - Chalk Line Drawing

Patente - Chalk Line...

2327x1730 0 0

Like PNG
1868x2066 Patente - Chalk Line Drawing

Patente - Chalk Line...

1868x2066 0 0

Like JPG
600x488 Putting A Belt Clip On Your Chalk Box - Chalk Line Drawing

Putting A Belt Clip ...

600x488 0 0

Like JPG
450x450 Sketch Orchid Branch, Hand Drawn, Ink Style In Design - Chalk Line Drawing

Sketch Orchid Branch...

450x450 0 0

Like PNG
900x751 Tactical Urbanism Materials And Design Guide - Chalk Line Drawing

Tactical Urbanism Ma...

900x751 0 0

Like JPG
480x360 Three Knee Deep - Chalk Line Drawing

Three Knee Deep - Ch...

480x360 0 0

Like JPG
355x261 Westcott School Wooden Chalkboard Line Drawing Tool, Inch - Chalk Line Drawing

Westcott School Wood...

355x261 0 0

Like JPG
500x443 Art, Drawing, Painting, Sketch, Pen, Ink, Marker, Paint, Chalk - Chalk Line Drawing

Art, Drawing, Painti...

500x443 0 0

Like JPG
466x550 Insects Line Drawing - Chalk Line Drawing

Insects Line Drawing...

466x550 0 0

Like PNG
518x229 Iphone - Chalk Line Drawing

Iphone - Chalk Line ...

518x229 0 0

Like JPG
3112x2327 Perfect Line Cill Rialaig - Chalk Line Drawing

Perfect Line Cill Ri...

3112x2327 0 0

Tags: chalk, line

All rights to paintings and other images found on PaintingValley.com are owned by their respective owners (authors, artists), and the Administration of the website doesn't bear responsibility for their use. All the materials are intended for educational purposes only. If you consider that any of the materials violates your rights, and you do not want your material to be displayed on this website, please get in touch with us via "contact us" page and your copyrighted material will be immediately removed.

shutterstock

Related Images