Cymbals Drawing

Are you looking for the best images of Cymbals Drawing? Here you are! We collected 39+ Cymbals Drawing paintings in our online museum of paintings - PaintingValley.com.

ADVERTISEMENT

Most Downloads Size Popular

Views: 3625 Images: 39 Downloads: 5 Likes: 0

Like PNG
2046x2491 Filecymbals - Cymbals Drawing

Filecymbals - Cymbal...

2046x2491 2 0

Like JPG
236x236 Best Cymbals Images Drum Kit, Drums, Drum - Cymbals Drawing

Best Cymbals Images ...

236x236 1 0

Like PNG
512x512 Cymbals Icons Free Download - Cymbals Drawing

Cymbals Icons Free D...

512x512 1 0

Like JPG
201x185 Percussion Instruments - Cymbals Drawing

Percussion Instrumen...

201x185 1 0

Like JPG
640x589 Years In Words Cymbal History Drum! Magazine - Cymbals Drawing

Years In Words Cymba...

640x589 0 0

Like JPG
1920x2690 Artstation - Cymbals Drawing

Artstation - Cymbals...

1920x2690 0 0

Like PNG
300x250 Baby Monkey With Cymbals Drawing - Cymbals Drawing

Baby Monkey With Cym...

300x250 0 0

Like JPG
750x1005 British Museum - Cymbals Drawing

British Museum - Cym...

750x1005 0 0

Like JPG
368x368 Cymbals - Cymbals Drawing

Cymbals - Cymbals Dr...

368x368 0 0

Like JPG
804x900 Child With Cymbals Drawing - Cymbals Drawing

Child With Cymbals D...

804x900 0 0

Like JPG
1200x944 Clanging Cymbals - Cymbals Drawing

Clanging Cymbals - C...

1200x944 0 0

Like JPG
1080x1024 Clipart Vintage Black And White Cymbals - Cymbals Drawing

Clipart Vintage Blac...

1080x1024 0 0

Like JPG
304x404 Coloring - Cymbals Drawing

Coloring - Cymbals D...

304x404 0 0

Like JPG
450x459 Cymbal - Cymbals Drawing

Cymbal - Cymbals Dra...

450x459 0 0

Like JPG
553x567 Cymbal Monkey! The Horrors!!! The Dopamine Chronicles - Cymbals Drawing

Cymbal Monkey! The H...

553x567 0 0

Like JPG
357x470 Cymbal - Cymbals Drawing

Cymbal - Cymbals Dra...

357x470 0 0

Like JPG
210x230 Cymbals Drawing Art Prints Redbubble - Cymbals Drawing

Cymbals Drawing Art ...

210x230 0 0

Like JPG
210x230 Cymbals Drawing Scarves Redbubble - Cymbals Drawing

Cymbals Drawing Scar...

210x230 0 0

Like JPG
210x230 Cymbals Drawing Wall Art Redbubble - Cymbals Drawing

Cymbals Drawing Wall...

210x230 0 0

Like JPG
300x293 Cymbals Drawings Fine Art America - Cymbals Drawing

Cymbals Drawings Fin...

300x293 0 0

Like JPG
227x300 Drum Cymbals Drawings Fine Art America - Cymbals Drawing

Drum Cymbals Drawing...

227x300 0 0

Like JPG
500x500 Drumset With Cymbals - Cymbals Drawing

Drumset With Cymbals...

500x500 0 0

Like JPG
360x460 Hi Hat Cymbals - Cymbals Drawing

Hi Hat Cymbals - Cym...

360x460 0 0

Like JPG
1280x720 How To Draw Cymbals - Cymbals Drawing

How To Draw Cymbals ...

1280x720 0 0

Like JPG
1280x720 How To Draw A Cymbal Real Easy - Cymbals Drawing

How To Draw A Cymbal...

1280x720 0 0

Like JPG
1280x720 Hows To Draw Cymbals - Cymbals Drawing

Hows To Draw Cymbals...

1280x720 0 0

Like JPG
360x270 Hua Nian Art Studio Drawings - Cymbals Drawing

Hua Nian Art Studio ...

360x270 0 0

Like JPG
500x365 Illustration Of A Drum Kit Dass Tom Tom Ride Cymbal Crash Hi Hat - Cymbals Drawing

Illustration Of A Dr...

500x365 0 0

Like JPG
500x450 Illustrator Tutorial Vector Drums Kit - Cymbals Drawing

Illustrator Tutorial...

500x450 0 0

Like PNG
700x867 Inktober Day Yesterday's Drawing I Like This One The Ugly - Cymbals Drawing

Inktober Day Yesterd...

700x867 0 0

Like JPG
794x700 Monkey With Cymbals Toys Painting Original Illustrate Drawing Etsy - Cymbals Drawing

Monkey With Cymbals ...

794x700 0 0

Like JPG
2500x2500 Orchestral Crash Cymbal Cradles Lone Star Percussion - Cymbals Drawing

Orchestral Crash Cym...

2500x2500 0 0

Like PNG
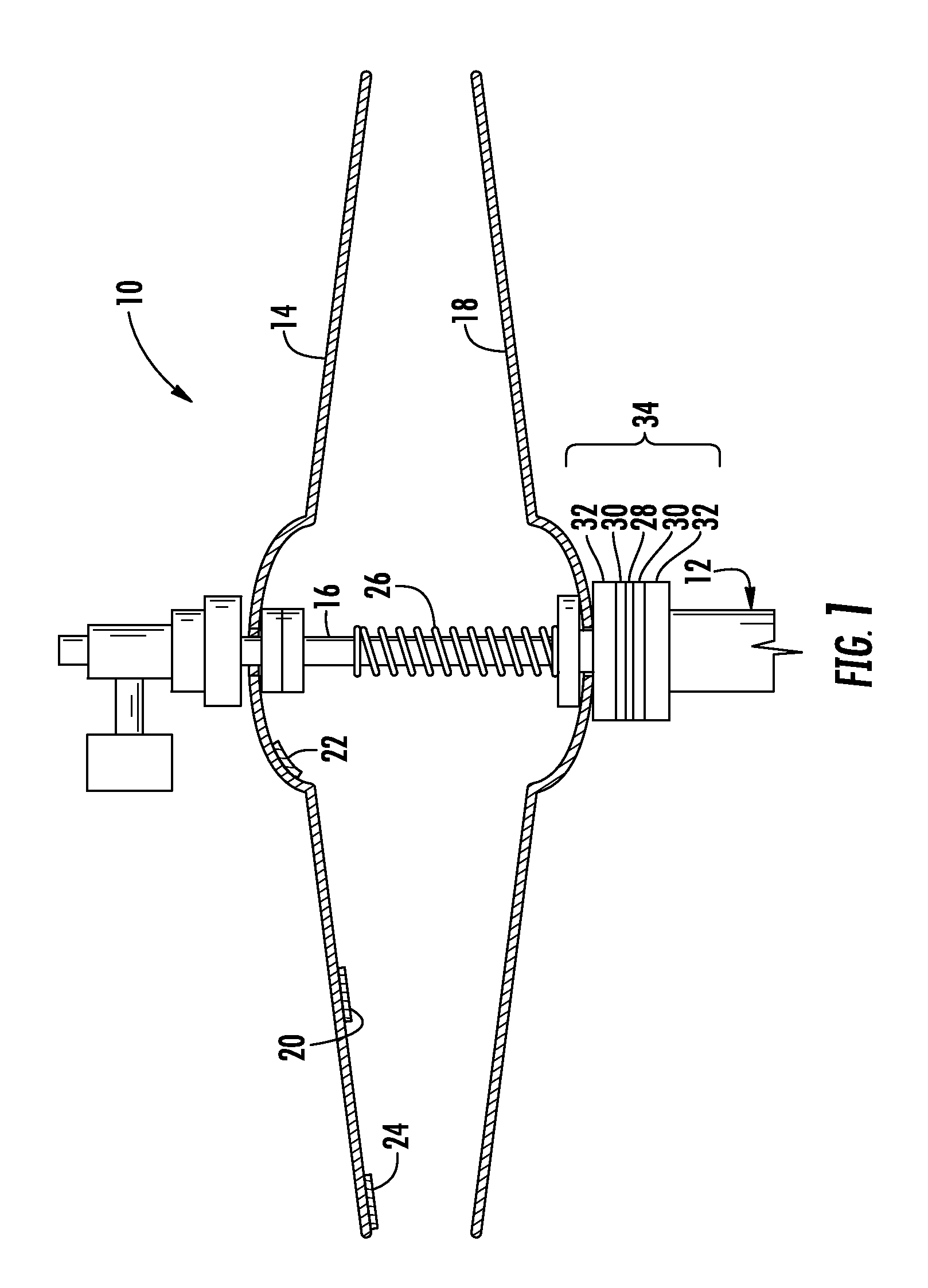
2550x2267 Patent - Cymbals Drawing

Patent - Cymbals Dra...

2550x2267 0 0

Like PNG
1618x2246 Patent - Cymbals Drawing

Patent - Cymbals Dra...

1618x2246 0 0

Like PNG
280x266 Ride Cymbal - Cymbals Drawing

Ride Cymbal - Cymbal...

280x266 0 0

Like JPG
1000x911 The World's Best Photos Of Cymbals And Drawing - Cymbals Drawing

The World's Best Pho...

1000x911 0 0

Like JPG
571x800 Tribal Belly Dancer Holding Cymbals In Stock Vector Colourbox - Cymbals Drawing

Tribal Belly Dancer ...

571x800 0 0

Like PNG
300x250 I Killed A Man With These Cymbals - Cymbals Drawing

I Killed A Man With ...

300x250 0 0

Like PNG
300x435 Monkey Outline Drawing - Cymbals Drawing

Monkey Outline Drawi...

300x435 0 0

Tags: cymbals

All rights to paintings and other images found on PaintingValley.com are owned by their respective owners (authors, artists), and the Administration of the website doesn't bear responsibility for their use. All the materials are intended for educational purposes only. If you consider that any of the materials violates your rights, and you do not want your material to be displayed on this website, please get in touch with us via "contact us" page and your copyrighted material will be immediately removed.

shutterstock

Related Images