Landfill Drawing

Are you looking for the best images of Landfill Drawing? Here you are! We collected 37+ Landfill Drawing paintings in our online museum of paintings - PaintingValley.com.

ADVERTISEMENT

Most Downloads Size Popular

Views: 5072 Images: 37 Downloads: 27 Likes: 2

Like JPG
1600x1041 Emma Charleston Rubbish - Landfill Drawing

Emma Charleston Rubb...

1600x1041 10 0

Like JPG
1473x722 Ohio Citizen Action More Things You Can Do To Stop - Landfill Drawing

Ohio Citizen Action ...

1473x722 8 2

Like JPG
1024x768 Animated Garbage Dump - Landfill Drawing

Animated Garbage Dum...

1024x768 3 0

Like JPG
1280x720 Landfill Pizza Box And Tin Can - Landfill Drawing

Landfill Pizza Box A...

1280x720 2 0

Like JPG
700x325 Getting To Grips Landfill Leachate - Landfill Drawing

Getting To Grips Lan...

700x325 1 0

Like JPG
333x250 Landfill - Landfill Drawing

Landfill - Landfill ...

333x250 1 0

Like JPG
1280x720 Landfill Styrofoam And Straw - Landfill Drawing

Landfill Styrofoam A...

1280x720 1 0

Like JPG
945x459 Landfills Cartoons And Comics - Landfill Drawing

Landfills Cartoons A...

945x459 1 0

Like JPG
465x620 Landfill Drawing Pictures And Ideas On Stem Education Caucus - Landfill Drawing

Landfill Drawing Pic...

465x620 0 0

Like JPG
792x1011 Another Day - Landfill Drawing

Another Day - Landfi...

792x1011 0 0

Like JPG
640x480 Beyond California's Continuing Need For Landfills - Landfill Drawing

Beyond California's ...

640x480 0 0

Like PNG
900x736 Dumptruck In Landfill Mine - Landfill Drawing

Dumptruck In Landfil...

900x736 0 0

Like JPG
799x480 Experimental Plasma Generator Offers Path Forward For Better Use - Landfill Drawing

Experimental Plasma ...

799x480 0 0

Like JPG
1200x1198 Foetal Juicehuman Landfill Split Foetal Juice - Landfill Drawing

Foetal Juicehuman La...

1200x1198 0 0

Like JPG
400x309 Garbage Dump Cartoons And Comics - Landfill Drawing

Garbage Dump Cartoon...

400x309 0 0

Like JPG
660x433 How Is A Landfill Operated - Landfill Drawing

How Is A Landfill Op...

660x433 0 0

Like JPG
1280x720 How To Draw Dump Truck Step - Landfill Drawing

How To Draw Dump Tru...

1280x720 0 0

Like JPG
467x350 Landfill - Landfill Drawing

Landfill - Landfill ...

467x350 0 0

Like JPG
1024x768 Landfill - Landfill Drawing

Landfill - Landfill ...

1024x768 0 0

Like JPG
467x350 Landfill - Landfill Drawing

Landfill - Landfill ...

467x350 0 0

Like JPG
764x1046 Landfill Drawing - Landfill Drawing

Landfill Drawing - L...

764x1046 0 0

Like JPG
375x269 Landfill Drawing - Landfill Drawing

Landfill Drawing - L...

375x269 0 0

Like JPG
724x527 Landfill Editions Show Us A Bunch Of Its Brilliant New - Landfill Drawing

Landfill Editions Sh...

724x527 0 0

Like JPG
670x289 Landfill Gas To Energy Benefits Front Range Landfill - Landfill Drawing

Landfill Gas To Ener...

670x289 0 0

Like JPG
1280x1033 Landfill Of Drawing - Landfill Drawing

Landfill Of Drawing ...

1280x1033 0 0

Like JPG
1400x990 Landfill On Behance - Landfill Drawing

Landfill On Behance ...

1400x990 0 0

Like PNG
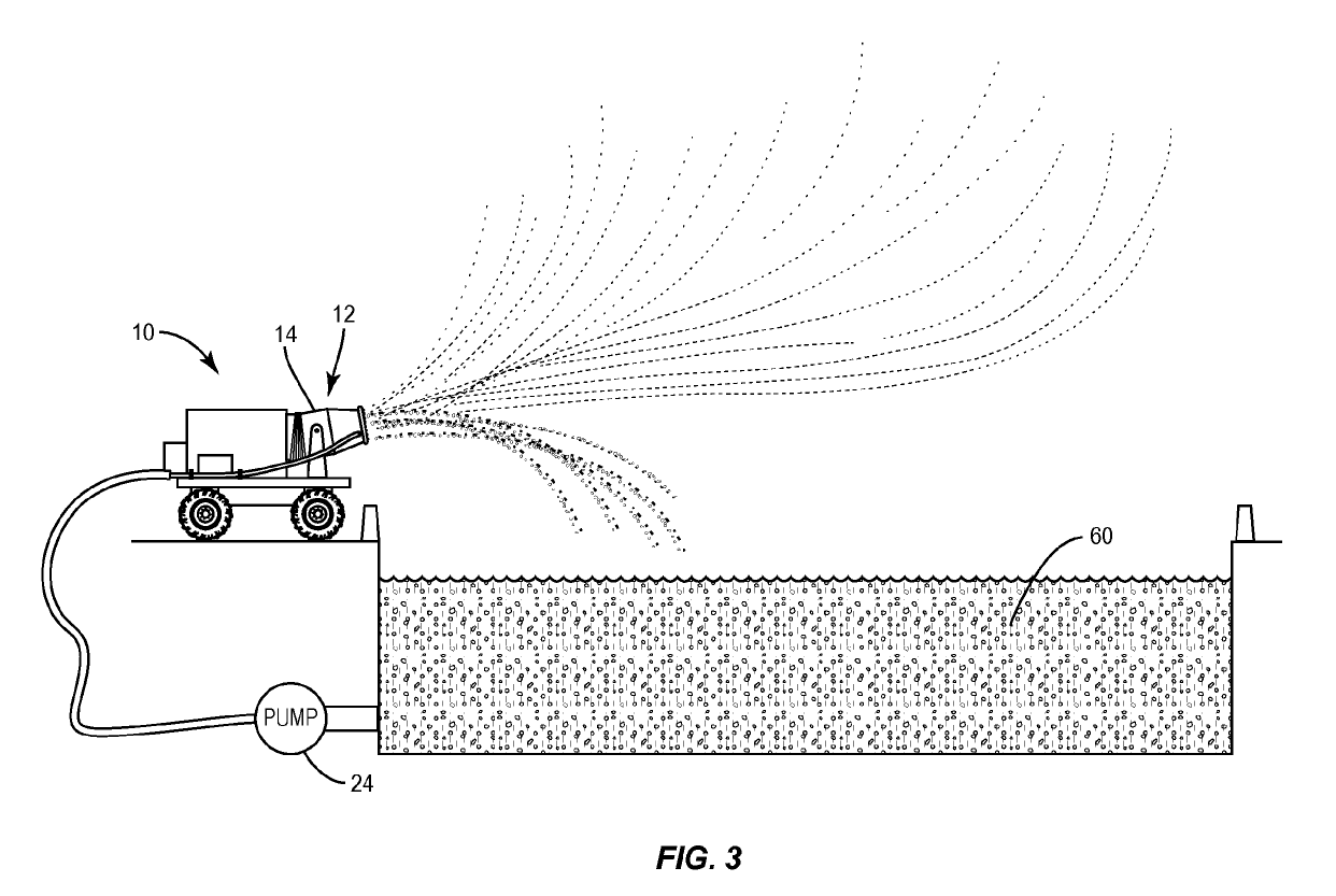
1242x833 Let's Talk More About The Bad Idea Of Spraying Garbage Juice All - Landfill Drawing

Let's Talk More Abou...

1242x833 0 0

Like JPG
1085x836 Ohio Citizen Action Child's Drawing For Rumpke Landfill - Landfill Drawing

Ohio Citizen Action ...

1085x836 0 0

Like JPG
659x441 Palos Verdes Landfill South Bay History - Landfill Drawing

Palos Verdes Landfil...

659x441 0 0

Like JPG
1280x720 Pitkin County Landfill - Landfill Drawing

Pitkin County Landfi...

1280x720 0 0

Like JPG
638x479 Remediation Of Solide Waste Landfill - Landfill Drawing

Remediation Of Solid...

638x479 0 0

Like JPG
288x450 The Art Landfill - Landfill Drawing

The Art Landfill - L...

288x450 0 0

Like JPG
770x365 Transformation Of A Landfill Drawing - Landfill Drawing

Transformation Of A ...

770x365 0 0

Like JPG
1272x846 Turning To The Landfill To Make Fine Art Nrdc - Landfill Drawing

Turning To The Landf...

1272x846 0 0

Like JPG
655x700 Watermedia Works Dump - Landfill Drawing

Watermedia Works Dum...

655x700 0 0

Like JPG
1920x1150 Landfill Landscape Drawing - Landfill Drawing

Landfill Landscape D...

1920x1150 0 0

Like JPG
205x246 Landfill Planet Vector - Landfill Drawing

Landfill Planet Vect...

205x246 0 0

Tags: landfill

All rights to paintings and other images found on PaintingValley.com are owned by their respective owners (authors, artists), and the Administration of the website doesn't bear responsibility for their use. All the materials are intended for educational purposes only. If you consider that any of the materials violates your rights, and you do not want your material to be displayed on this website, please get in touch with us via "contact us" page and your copyrighted material will be immediately removed.

shutterstock

Related Images