Needle And Thread Drawing

Are you looking for the best images of Needle And Thread Drawing? Here you are! We collected 39+ Needle And Thread Drawing paintings in our online museum of paintings - PaintingValley.com.

ADVERTISEMENT

Most Downloads Size Popular

Views: 4367 Images: 39 Downloads: 72 Likes: 0

Like JPG
315x230 Needle And Thread - Needle And Thread Drawing

Needle And Thread - ...

315x230 16 0

Like JPG
1300x1040 Heart With A Needle Thread Vector Illustration And Clip - Needle And Thread Drawing

Heart With A Needle ...

1300x1040 10 0

Like PNG
512x512 Drawing Needle Thread Transparent Png Clipart Free Download - Needle And Thread Drawing

Drawing Needle Threa...

512x512 10 0

Like JPG
900x620 Drawing Needle Needle Thread For Free Download - Needle And Thread Drawing

Drawing Needle Needl...

900x620 7 0

Like JPG
392x425 Needle Thread Clipart - Needle And Thread Drawing

Needle Thread Clipar...

392x425 5 0

Like JPG
260x380 Needle And Thread Png - Needle And Thread Drawing

Needle And Thread Pn...

260x380 4 0

Like PNG
850x809 Thread Drawing Sewing Needle For Free Download - Needle And Thread Drawing

Thread Drawing Sewin...

850x809 4 0

Like JPG
450x450 Huge Collection Of 'sewing Needle Drawing' Download More Than - Needle And Thread Drawing

Huge Collection Of '...

450x450 3 0

Like PNG
1600x808 Drawing Thread Needle Transparent Png Clipart Free Download - Needle And Thread Drawing

Drawing Thread Needl...

1600x808 3 0

Like JPG
1300x1300 Needle And Thread Drawing At Getdrawingscom Free For Personal - Needle And Thread Drawing

Needle And Thread Dr...

1300x1300 2 0

Like PNG
247x300 Needle And Thread Png Images In Collection - Needle And Thread Drawing

Needle And Thread Pn...

247x300 2 0

Like JPG
600x400 Bird Needle Thread Logo - Needle And Thread Drawing

Bird Needle Thread L...

600x400 2 0

Like JPG
1280x720 Sewing Doodles Needle And Thread How To Draw Needles - Needle And Thread Drawing

Sewing Doodles Needl...

1280x720 1 0

Like JPG
900x900 Sewing Needle And Thread Drawing - Needle And Thread Drawing

Sewing Needle And Th...

900x900 1 0

Like JPG
571x469 Free Drawing Of Needle Thread Logo Bw From The Category Hobby - Needle And Thread Drawing

Free Drawing Of Need...

571x469 1 0

Like JPG
300x300 Heart With A Needle Thread Vector Soidergi - Needle And Thread Drawing

Heart With A Needle ...

300x300 1 0

Like JPG
480x360 How To Draw A Needle - Needle And Thread Drawing

How To Draw A Needle...

480x360 0 0

Like JPG
718x1000 Huge Collection Of 'needles Drawing' Download More Than Images - Needle And Thread Drawing

Huge Collection Of '...

718x1000 0 0

Like JPG
500x625 Learn To Draw Cartoon Thread And Needle In Steps Learn To Draw - Needle And Thread Drawing

Learn To Draw Cartoo...

500x625 0 0

Like PNG
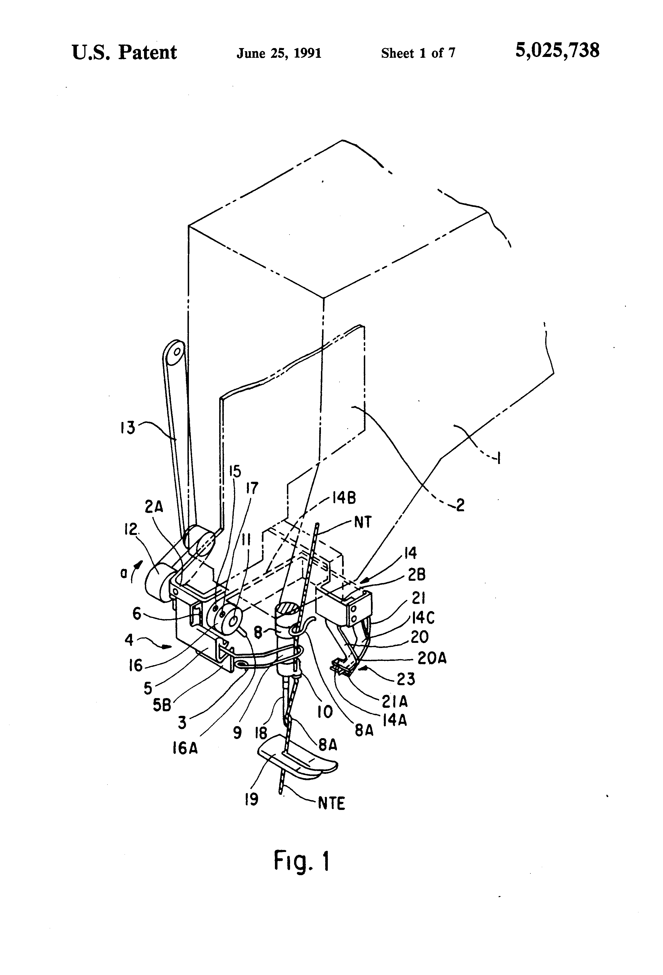
2320x3408 Patent - Needle And Thread Drawing

Patent - Needle And ...

2320x3408 0 0

Like JPG
794x758 Premade Logo Sewing Logo Premade Logo Design Thread Logos Etsy - Needle And Thread Drawing

Premade Logo Sewing ...

794x758 0 0

Like PNG
512x512 Sewing Drawing Needle Thread Transparent Png Clipart Free - Needle And Thread Drawing

Sewing Drawing Needl...

512x512 0 0

Like JPG
1228x1228 Thread Spool With Needle Hand Drawn Sketch Icon Gm Lazttweet - Needle And Thread Drawing

Thread Spool With Ne...

1228x1228 0 0

Like JPG
626x626 Thread Vectors, Photos And Free Download - Needle And Thread Drawing

Thread Vectors, Phot...

626x626 0 0

Like JPG
300x300 Thread With Spokes Hand Drawn Sketch Icon Vector Soidergi - Needle And Thread Drawing

Thread With Spokes H...

300x300 0 0

Like JPG
800x800 Thread Spool With Needle Hand Drawn Stock Vector Colourbox - Needle And Thread Drawing

Thread Spool With Ne...

800x800 0 0

Like JPG
500x500 Thread Spool With Needle Hand Drawn Outline Doodle Icon Cotton - Needle And Thread Drawing

Thread Spool With Ne...

500x500 0 0

Like JPG
500x500 Needle And Thread Cartoon Vector And Illustration, Black - Needle And Thread Drawing

Needle And Thread Ca...

500x500 0 0

Like JPG
500x500 Spool With Thread And Needle Vector Draw Stock Image And Royalty - Needle And Thread Drawing

Spool With Thread An...

500x500 0 0

Like JPG
266x400 Thread Drawings - Needle And Thread Drawing

Thread Drawings - Ne...

266x400 0 0

Like JPG
375x425 Needle And Thread Spool Drawing Sketch Coloring Page - Needle And Thread Drawing

Needle And Thread Sp...

375x425 0 0

Like PNG
480x406 Needle And Thread Png Transparent Stock Huge Freebie! Download - Needle And Thread Drawing

Needle And Thread Pn...

480x406 0 0

Like JPG
332x190 Build Your Bookmark - Needle And Thread Drawing

Build Your Bookmark ...

332x190 0 0

Like JPG
3817x2601 Collection Search Bad Drawings For Dost Needle And Thread - Needle And Thread Drawing

Collection Search Ba...

3817x2601 0 0

Like JPG
1200x875 Doodling With A Needle And Thread Doodlers Anonymous - Needle And Thread Drawing

Doodling With A Need...

1200x875 0 0

Like JPG
320x453 Embracing Technology Drawing With My New Graphics Tablet Logo - Needle And Thread Drawing

Embracing Technology...

320x453 0 0

Like JPG
728x804 Hand Sewing Needles Drawing Coloring Book Yarn Thread, Hilo Png - Needle And Thread Drawing

Hand Sewing Needles ...

728x804 0 0

Like JPG
650x524 Hand Drawn Heart Shaped Needle And Thread, Needle Clipart, Line - Needle And Thread Drawing

Hand Drawn Heart Sha...

650x524 0 0

Like JPG
480x360 How To Draw A Needle With Thread Easy Simple Step - Needle And Thread Drawing

How To Draw A Needle...

480x360 0 0

Tags: needle, thread

All rights to paintings and other images found on PaintingValley.com are owned by their respective owners (authors, artists), and the Administration of the website doesn't bear responsibility for their use. All the materials are intended for educational purposes only. If you consider that any of the materials violates your rights, and you do not want your material to be displayed on this website, please get in touch with us via "contact us" page and your copyrighted material will be immediately removed.

shutterstock

Related Images