Ps3 Controller Drawing

Are you looking for the best images of Ps3 Controller Drawing? Here you are! We collected 37+ Ps3 Controller Drawing paintings in our online museum of paintings - PaintingValley.com.

ADVERTISEMENT

Most Downloads Size Popular

Views: 2648 Images: 37 Downloads: 16 Likes: 0

Like PNG
600x372 Game Console Controller Outline Clip Art - Ps3 Controller Drawing

Game Console Control...

600x372 5 0

Like PNG
682x433 Sony - Ps3 Controller Drawing

Sony - Ps3 Controlle...

682x433 5 0

Like PNG
1200x992 Gamer Drawing Controller For Free Download - Ps3 Controller Drawing

Gamer Drawing Contro...

1200x992 1 0

Like JPG
800x800 Dragon Legend Controller Skin Istyles - Ps3 Controller Drawing

Dragon Legend Contro...

800x800 1 0

Like JPG
236x171 Playstation Controller Drawing Playstation Controller Drawing - Ps3 Controller Drawing

Playstation Controll...

236x171 1 0

Like PNG
600x400 Playstation Controller Drawing Playstation Controller Drawing - Ps3 Controller Drawing

Playstation Controll...

600x400 1 0

Like PNG
820x501 Controller Drawings - Ps3 Controller Drawing

Controller Drawings ...

820x501 1 0

Like JPG
1742x1568 The Best Xbox One Controllers - Ps3 Controller Drawing

The Best Xbox One Co...

1742x1568 1 0

Like JPG
800x800 Gaming Drawing Controller For Free Download - Ps3 Controller Drawing

Gaming Drawing Contr...

800x800 0 0

Like PNG
300x250 A New Controller Drawing - Ps3 Controller Drawing

A New Controller Dra...

300x250 0 0

Like JPG
425x425 Bird Drawing Dual Shock Wireless Controller Vinyl - Ps3 Controller Drawing

Bird Drawing Dual Sh...

425x425 0 0

Like JPG
800x800 Birth Of An Idea Controller Skin Istyles - Ps3 Controller Drawing

Birth Of An Idea Con...

800x800 0 0

Like JPG
340x270 Gamepad Embroidery Etsy - Ps3 Controller Drawing

Gamepad Embroidery E...

340x270 0 0

Like JPG
895x231 Gioteck Real Triggers - Ps3 Controller Drawing

Gioteck Real Trigger...

895x231 0 0

Like JPG
800x800 Kupit Videoigry Gamesir Gamepad For Controller - Ps3 Controller Drawing

Kupit Videoigry Game...

800x800 0 0

Like JPG
530x342 New Controller Coming - Ps3 Controller Drawing

New Controller Comin...

530x342 0 0

Like PNG
300x250 Controller - Ps3 Controller Drawing

Controller - Ps3 Con...

300x250 0 0

Like JPG
1034x772 Controller - Ps3 Controller Drawing

Controller - Ps3 Con...

1034x772 0 0

Like JPG
1024x683 Controller - Ps3 Controller Drawing

Controller - Ps3 Con...

1024x683 0 0

Like JPG
979x816 Controller - Ps3 Controller Drawing

Controller - Ps3 Con...

979x816 0 0

Like JPG
487x365 Pencil Sketch Drawings Video Game Drawings, Artist - Ps3 Controller Drawing

Pencil Sketch Drawin...

487x365 0 0

Like JPG
480x360 Controller - Ps3 Controller Drawing

Controller - Ps3 Con...

480x360 0 0

Like JPG
600x225 Controller Outline Scuf Gaming - Ps3 Controller Drawing

Controller Outline S...

600x225 0 0

Like JPG
1000x750 Dualshock, Drawing, Zeichnung Quasirichtig - Ps3 Controller Drawing

Dualshock, Drawing, ...

1000x750 0 0

Like JPG
504x714 Paper Heart Ink Blood - Ps3 Controller Drawing

Paper Heart Ink Bloo...

504x714 0 0

Like JPG
1024x636 Pen Drawing Of Controller - Ps3 Controller Drawing

Pen Drawing Of Contr...

1024x636 0 0

Like JPG
2592x1936 Playstation Controller Drawing Vap Colour Finals - Ps3 Controller Drawing

Playstation Controll...

2592x1936 0 0

Like JPG
480x360 Playstation Controller Drawing - Ps3 Controller Drawing

Playstation Controll...

480x360 0 0

Like JPG
1419x882 Controller Drawing Wiring Schematic Diagram - Ps3 Controller Drawing

Controller Drawing W...

1419x882 0 0

Like JPG
2482x1256 Controller Wire Diagram - Ps3 Controller Drawing

Controller Wire Diag...

2482x1256 0 0

Like JPG
400x283 Sony Playstation Controller Vector Drawing - Ps3 Controller Drawing

Sony Playstation Con...

400x283 0 0

Like JPG
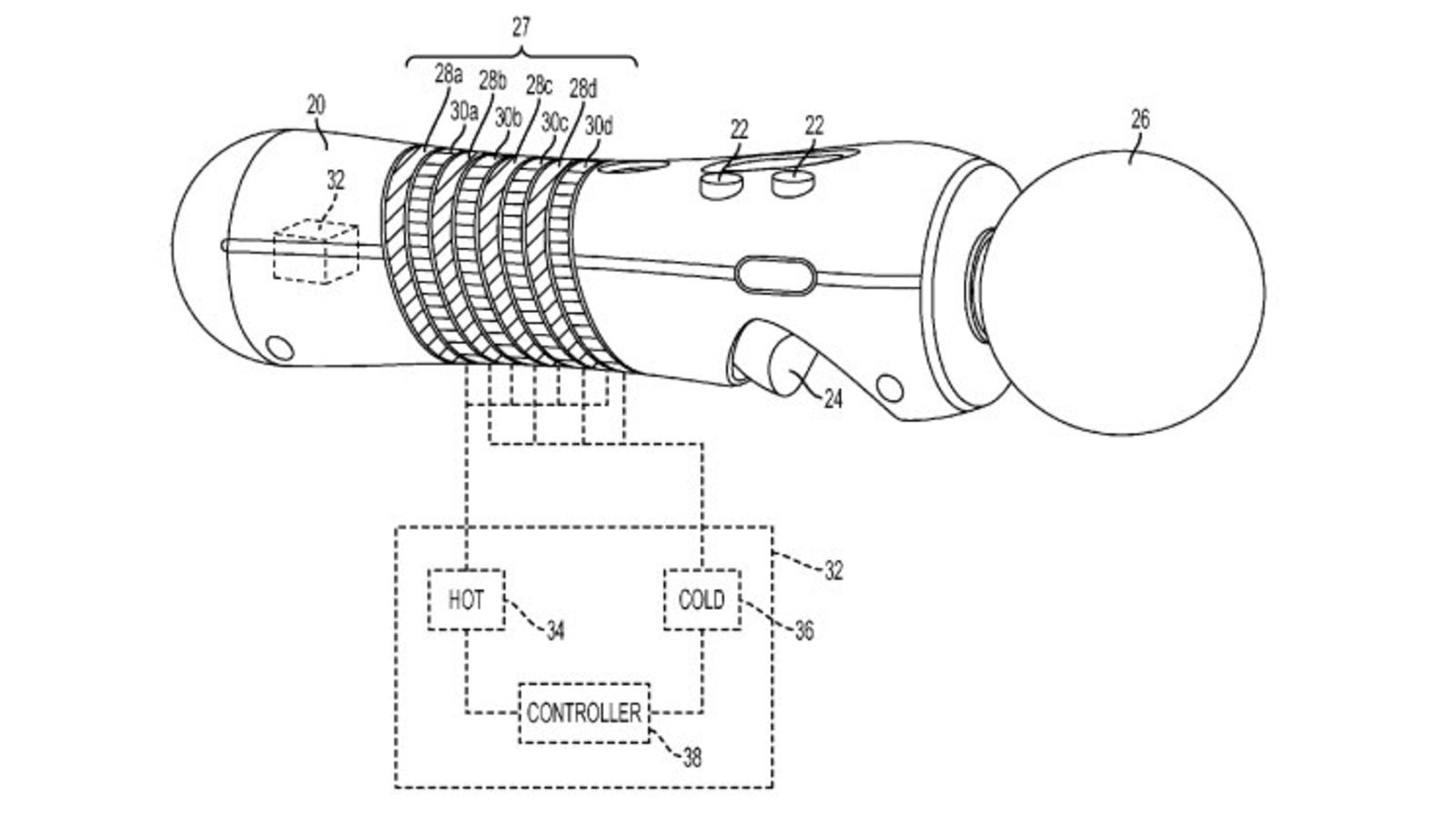
1600x900 Sony Wants To Make A Controller That Gets Hot Or Cold - Ps3 Controller Drawing

Sony Wants To Make A...

1600x900 0 0

Like PNG
348x196 Sony Patents Biometric Controller And Handheld Computer - Ps3 Controller Drawing

Sony Patents Biometr...

348x196 0 0

Like JPG
450x203 Wacky Wii Style Controller In The Works The Register - Ps3 Controller Drawing

Wacky Wii Style Cont...

450x203 0 0

Like JPG
1024x681 Drawing Of Controller After Ages Of Not Drawing - Ps3 Controller Drawing

Drawing Of Controlle...

1024x681 0 0

Like JPG
500x500 Drawing Of Controller Webadda - Ps3 Controller Drawing

Drawing Of Controlle...

500x500 0 0

Like JPG
250x250 Controller Drawing - Ps3 Controller Drawing

Controller Drawing -...

250x250 0 0

Tags: ps3, controller

All rights to paintings and other images found on PaintingValley.com are owned by their respective owners (authors, artists), and the Administration of the website doesn't bear responsibility for their use. All the materials are intended for educational purposes only. If you consider that any of the materials violates your rights, and you do not want your material to be displayed on this website, please get in touch with us via "contact us" page and your copyrighted material will be immediately removed.

shutterstock

Related Images