Ski Doo Drawing

Are you looking for the best images of Ski Doo Drawing? Here you are! We collected 37+ Ski Doo Drawing paintings in our online museum of paintings - PaintingValley.com.

ADVERTISEMENT

Most Downloads Size Popular

Views: 3809 Images: 37 Downloads: 1 Likes: 0

Like JPG
633x425 Ski Doo Release Date - Ski Doo Drawing

Ski Doo Release Date...

633x425 1 0

Like JPG
504x750 Ski Doo Blizzard Plus Snowmobile Hall Of Fame Raffle - Ski Doo Drawing

Ski Doo Blizzard Plu...

504x750 0 0

Like JPG
600x777 Ski Doo Side Decals For Mxz Mxz Mxz Mxz - Ski Doo Drawing

Ski Doo Side Decals ...

600x777 0 0

Like JPG
502x750 Ski Doo Mxz Sport Snowmobile Hall Of Fame Raffle - Ski Doo Drawing

Ski Doo Mxz Sport Sn...

502x750 0 0

Like JPG
250x250 All Seasons Honda Peninsula Ski Doo - Ski Doo Drawing

All Seasons Honda Pe...

250x250 0 0

Like JPG
425x413 Calvin Peeing On Skidoo Everything Else - Ski Doo Drawing

Calvin Peeing On Ski...

425x413 0 0

Like JPG
466x308 Creatorx Ski Doo Rev Xs Mxz Renegade Snowmobile Sled - Ski Doo Drawing

Creatorx Ski Doo Rev...

466x308 0 0

Like JPG
1024x790 Brp Adds Remote Activation To Adjustable Limiter Strap For Ski Doo - Ski Doo Drawing

Brp Adds Remote Acti...

1024x790 0 0

Like JPG
1200x557 Brp Adds Remote Activation To Adjustbale Limiter Strap For Ski Doo - Ski Doo Drawing

Brp Adds Remote Acti...

1200x557 0 0

Like JPG
1024x777 Dog On A Skidoo Drawing Northern Expressions - Ski Doo Drawing

Dog On A Skidoo Draw...

1024x777 0 0

Like JPG
555x430 Drawings - Ski Doo Drawing

Drawings - Ski Doo D...

555x430 0 0

Like PNG
650x312 Havoc Custom Design For Skidoo Rev - Ski Doo Drawing

Havoc Custom Design ...

650x312 0 0

Like JPG
660x440 Hicklin Powersports - Ski Doo Drawing

Hicklin Powersports ...

660x440 0 0

Like JPG
700x700 How To Draw A Snowmobile, Step - Ski Doo Drawing

How To Draw A Snowmo...

700x700 0 0

Like JPG
633x347 Innovation Trends In Snowmobiling - Ski Doo Drawing

Innovation Trends In...

633x347 0 0

Like JPG
900x681 Love Ski Doo Personalized Snowmobile Wedding Cake Topper - Ski Doo Drawing

Love Ski Doo Persona...

900x681 0 0

Like PNG
846x600 Learn How To Draw A Simple Snowmobile - Ski Doo Drawing

Learn How To Draw A ...

846x600 0 0

Like JPG
350x284 Motorcycle Sled Atv Utv - Ski Doo Drawing

Motorcycle Sled Atv ...

350x284 0 0

Like JPG
480x360 My Drawings - Ski Doo Drawing

My Drawings - Ski Do...

480x360 0 0

Like JPG
825x638 Polaris Fan + Drawings - Ski Doo Drawing

Polaris Fan + Drawin...

825x638 0 0

Like JPG
954x480 Skidoo - Ski Doo Drawing

Skidoo - Ski Doo Dra...

954x480 0 0

Like JPG
954x480 Skidoo - Ski Doo Drawing

Skidoo - Ski Doo Dra...

954x480 0 0

Like JPG
480x360 Simple Ski Doo Sketch In Under Four Minutes - Ski Doo Drawing

Simple Ski Doo Sketc...

480x360 0 0

Like PNG
1200x778 Ski Doo Summit Carb Oem Parts Diagram For Exhaust Skidoo - Ski Doo Drawing

Ski Doo Summit Carb ...

1200x778 0 0

Like JPG
640x359 Ski Doo Brp Oem Cam Assembly Y For Sale Online Ebay - Ski Doo Drawing

Ski Doo Brp Oem Cam ...

640x359 0 0

Like PNG
820x803 Ski Doo Drawing At Getdrawings - Ski Doo Drawing

Ski Doo Drawing At G...

820x803 0 0

Like JPG
1024x640 Ski Doo Graphics - Ski Doo Drawing

Ski Doo Graphics - S...

1024x640 0 0

Like JPG
500x339 Ski Doo Mach Z American Snowmobiler Magazine - Ski Doo Drawing

Ski Doo Mach Z Ameri...

500x339 0 0

Like JPG
768x421 Ski Doo School Ski Doo Usa - Ski Doo Drawing

Ski Doo School Ski D...

768x421 0 0

Like PNG
720x450 Ski Doo - Ski Doo Drawing

Ski Doo - Ski Doo Dr...

720x450 0 0

Like JPG
3640x1744 Ski Doo Wasp Xm Summit - Ski Doo Drawing

Ski Doo Wasp Xm Summ...

3640x1744 0 0

Like JPG
795x375 Skidoo Lynx - Ski Doo Drawing

Skidoo Lynx - Ski Do...

795x375 0 0

Like JPG
640x640 Snocross Runners Ski Doo Race Skis Woodys Traction - Ski Doo Drawing

Snocross Runners Ski...

640x640 0 0

Like JPG
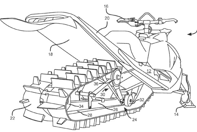
1000x1083 Snowmobile's Future Is Patent Pending - Ski Doo Drawing

Snowmobile's Future ...

1000x1083 0 0

Like PNG
300x250 Ski Doo And Year Old Guy Drawing - Ski Doo Drawing

Ski Doo And Year Old...

300x250 0 0

Like JPG
320x427 Skidoo Drawings On Paigeeworld Pictures Of Skidoo - Ski Doo Drawing

Skidoo Drawings On P...

320x427 0 0

Like JPG
738x453 Snowmobile Drawings - Ski Doo Drawing

Snowmobile Drawings ...

738x453 0 0

Tags: ski, doo

All rights to paintings and other images found on PaintingValley.com are owned by their respective owners (authors, artists), and the Administration of the website doesn't bear responsibility for their use. All the materials are intended for educational purposes only. If you consider that any of the materials violates your rights, and you do not want your material to be displayed on this website, please get in touch with us via "contact us" page and your copyrighted material will be immediately removed.

shutterstock

Related Images