Solidworks Drawing Tutorial

Are you looking for the best images of Solidworks Drawing Tutorial? Here you are! We collected 35+ Solidworks Drawing Tutorial paintings in our online museum of paintings - PaintingValley.com.

ADVERTISEMENT

Most Downloads Size Popular

Views: 6600 Images: 35 Downloads: 184 Likes: 9

Like JPG
1280x720 Solidworks Tutorial How To Create Layer In Solidworks Drawing - Solidworks Drawing Tutorial

Solidworks Tutorial ...

1280x720 27 1

Like PNG
960x457 Solidworks Drawing Beginner For Free Download - Solidworks Drawing Tutorial

Solidworks Drawing B...

960x457 24 4

Like PNG
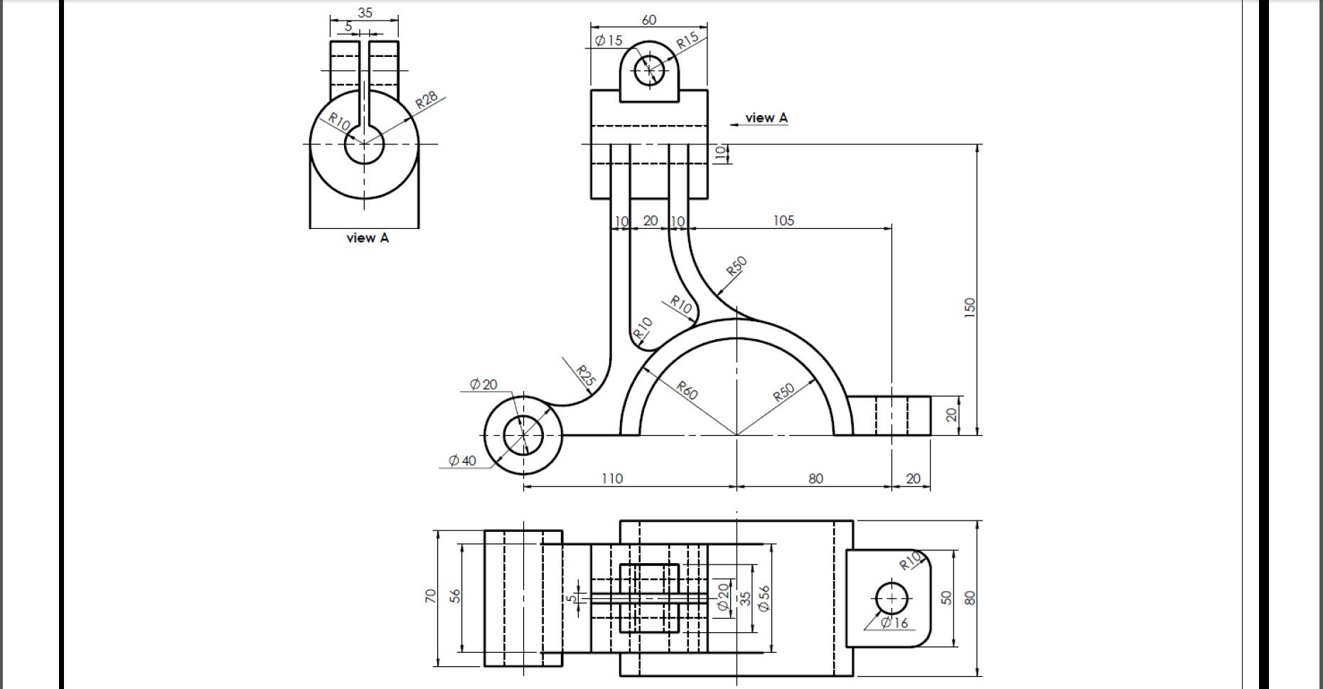
450x307 Rod Support - Solidworks Drawing Tutorial

Rod Support - Solidw...

450x307 20 2

Like JPG
1861x969 Engineering Drawing Solidworks For Free Download - Solidworks Drawing Tutorial

Engineering Drawing ...

1861x969 16 1

Like PNG
658x464 Drawings - Solidworks Drawing Tutorial

Drawings - Solidwork...

658x464 15 0

Like JPG
213x237 Image Result For Solidworks Drawing Tutorial Pdf Drawings - Solidworks Drawing Tutorial

Image Result For Sol...

213x237 13 0

Like JPG
520x701 Pieza De Enzablaje En Solidworks Piezas En Programas De Dibujo - Solidworks Drawing Tutorial

Pieza De Enzablaje E...

520x701 11 0

Like JPG
1280x720 Solidworks Tutorial For Beginners With Drawing Exercise - Solidworks Drawing Tutorial

Solidworks Tutorial ...

1280x720 11 0

Like JPG
1280x720 Solidworks Tutorial Sheet Metal Drawings - Solidworks Drawing Tutorial

Solidworks Tutorial ...

1280x720 9 0

Like PNG
589x454 Solidworks Tutorial Create A Simple Object Solid - Solidworks Drawing Tutorial

Solidworks Tutorial ...

589x454 5 0

Like JPG
521x307 How To Draw Mechanical Parts Modeling In Solidworks Design - Solidworks Drawing Tutorial

How To Draw Mechanic...

521x307 4 1

Like JPG
480x360 Solidworks Drawings Tutorial - Solidworks Drawing Tutorial

Solidworks Drawings ...

480x360 4 0

Like PNG
714x520 Tutorial - Solidworks Drawing Tutorial

Tutorial - Solidwork...

714x520 3 0

Like JPG
1280x720 Advanced Solidworks Tutorial Layouts And Assembly Sketches - Solidworks Drawing Tutorial

Advanced Solidworks ...

1280x720 2 0

Like PNG
379x249 Hex Nut Drawing Solidworks Tutorials - Solidworks Drawing Tutorial

Hex Nut Drawing Soli...

379x249 2 0

Like JPG
400x279 Make Drawing From Solidworks Part - Solidworks Drawing Tutorial

Make Drawing From So...

400x279 2 0

Like JPG
1280x720 Solidworks - Solidworks Drawing Tutorial

Solidworks - Solidwo...

1280x720 2 0

Like JPG
609x587 Solidworks Tutorial Axis - Solidworks Drawing Tutorial

Solidworks Tutorial ...

609x587 2 0

Like JPG
949x672 Solidworks Tutorial Drawings Of The Tic Tac Toe Game - Solidworks Drawing Tutorial

Solidworks Tutorial ...

949x672 2 0

Like PNG
659x472 Solidworks Drawing Tutorial Solidworks Drawing Tutorial Deve - Solidworks Drawing Tutorial

Solidworks Drawing T...

659x472 2 0

Like JPG
512x289 Solid Modelling Videos Getting Started Tutorial Part - Solidworks Drawing Tutorial

Solid Modelling Vide...

512x289 1 0

Like JPG
564x393 My Top Favorite Solidworks Drawing Tips Engineers Rule Solid - Solidworks Drawing Tutorial

My Top Favorite Soli...

564x393 1 0

Like JPG
1920x1080 Solidworks Ghost Trap Tutorial - Solidworks Drawing Tutorial

Solidworks Ghost Tra...

1920x1080 1 0

Like JPG
1280x720 Solidworks - Solidworks Drawing Tutorial

Solidworks - Solidwo...

1280x720 1 0

Like JPG
1914x980 Solidworks Tutorial - Solidworks Drawing Tutorial

Solidworks Tutorial ...

1914x980 1 0

Like JPG
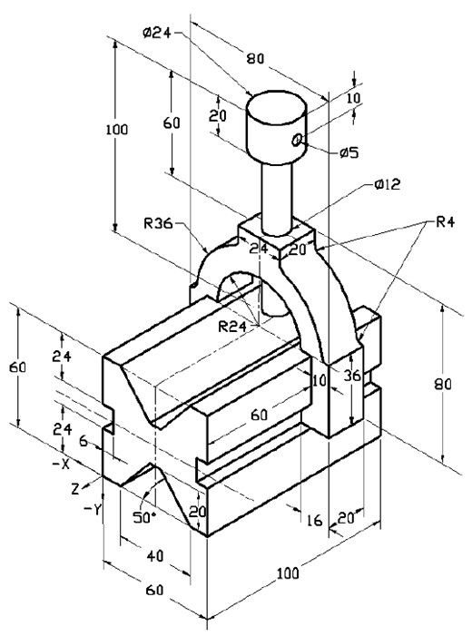
1149x741 Solidworks Tutorial Drawing Of The Axle Support - Solidworks Drawing Tutorial

Solidworks Tutorial ...

1149x741 1 0

Like PNG
400x347 Solidworks - Solidworks Drawing Tutorial

Solidworks - Solidwo...

400x347 1 0

Like PNG
688x577 Ngadmin - Solidworks Drawing Tutorial

Ngadmin - Solidworks...

688x577 1 0

Like JPG
798x461 How To Draw A Coke Bottle Mold In Solidworks - Solidworks Drawing Tutorial

How To Draw A Coke B...

798x461 0 0

Like JPG
1906x1026 Learning Solidworks My First Drawing - Solidworks Drawing Tutorial

Learning Solidworks ...

1906x1026 0 0

Like JPG
1056x1034 Quick And Easy Way To Create Your Drawings A Seconds Tutorial - Solidworks Drawing Tutorial

Quick And Easy Way T...

1056x1034 0 0

Like JPG
1920x555 Solidworks Pdm Sheet Metal Drawing Best Practice Tutorial Guide - Solidworks Drawing Tutorial

Solidworks Pdm Sheet...

1920x555 0 0

Like JPG
638x826 Solidworks Belt Path Tutorial - Solidworks Drawing Tutorial

Solidworks Belt Path...

638x826 0 0

Like PNG
772x668 Wrap And Circular Pattern Tools Model A Beer Mug With Solidworks - Solidworks Drawing Tutorial

Wrap And Circular Pa...

772x668 0 0

Like PNG
615x454 Solidworks Tutorial Drawing - Solidworks Drawing Tutorial

Solidworks Tutorial ...

615x454 0 0

All rights to paintings and other images found on PaintingValley.com are owned by their respective owners (authors, artists), and the Administration of the website doesn't bear responsibility for their use. All the materials are intended for educational purposes only. If you consider that any of the materials violates your rights, and you do not want your material to be displayed on this website, please get in touch with us via "contact us" page and your copyrighted material will be immediately removed.

shutterstock

Related Images